- Jan 24 Thu 2013 13:26
-
♫ 書本進階編輯教學 ♫
- Jan 24 Thu 2013 12:33
-
♫ 出版教學 ♫
- Jan 23 Wed 2013 17:42
-
♫ 書本基本編輯教學 ♫
- Jan 22 Tue 2013 11:02
-
嵌入式系統設計-第10章-I2C串列通訊
- Jan 22 Tue 2013 10:46
-
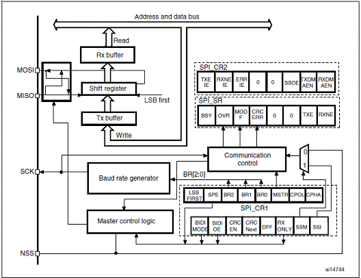
嵌入式系統設計-第9章-SPI串列通訊
- Jan 22 Tue 2013 10:10
-
嵌入式系統設計-第8章-類比訊號轉數位

第8章
類比訊號轉數位-ADC
8.1 ADC簡介
物理世界的觀測皆為連續的類比訊號,若要將其輸入電腦進行數值運算,則必須轉換為數位訊號。本章將介紹如何使用STM32內部的ADC(Analog to Digital)進行訊號轉換,並使讀者瞭解:
- Jan 22 Tue 2013 09:57
-
嵌入式系統設計-第7章-DMA資料快速搬移
- Jan 21 Mon 2013 17:04
-
嵌入式系統設計-第6章-SRAM與Flash記憶體存取
- Jan 21 Mon 2013 16:38
-
嵌入式系統設計-第5章-計時器與PWM訊號產生
- Jan 21 Mon 2013 15:40
-
嵌入式系統設計-第4章-嵌入式系統的時鐘RTC
- Jan 21 Mon 2013 15:30
-
嵌入式系統設計-第3章-使用虛擬串列阜VCP









